USD 0,0000
EUR 0,0000
USD/EUR 0,00
ALTIN 000,00
BİST 0.000
Teknoloji

Apple Poşet Patenti Aldı

Apple’ın bu defa aldığı patentin iPhone, iPad veya Mac bilgisayarlarıyla olan ilişkisi çok başka bir alanda. Peki teknoloji devinin son aldığı patent ne? İşte cevabı.

Apple Poşet Patenti Aldı
22-09-2016 18:27
Google News

7 Eylül tarihinde iPhone 7 ve iPhone 7 Plus modellerinin tanıtımını gerçekleştiren Cupertinolu teknoloji devi Apple, akıllı telefonlarında sunduğu yeniliklerle bekleneni pek veremese de yine da satışları şimdilik iyi gidiyor gibi gözüküyor.

Şimdi bahsedeceğimiz konu ise şirketin ne mobil cihazları ne de Mac’leri ile ilgili bir patent hakkında. Patentin şirketin bu ürünleriyle tek bağlantısı ise onları bir Apple Store’den alışveriş sonrası çıkarken rahat taşıyabilmenizi sağlaması.

iPhone 7 İnceleme iPhone 7
iPhone 7 Plus’a Geçilir mi? (VİDEO) iPhone 7 Plus’a Geçilir mi? 

Huzurlarınızda “Apple Bag”

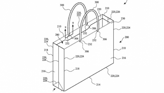
The Guardian’ın haberine göre, Apple’nin Birleşmiş Devletler Patent ve Tescilli Marka Ofisi’ne (USPTO) yaptığı son patent başvurusu kağıt bir poşet için. Aklımıza doğrudan “Apple BagveyaiBag” gibi isimler getiren başvuruyu detaylarıyla incelemek için bu adresi incelemek mümkün. Ama biz sizi yine de uğraştırmadan detayları verelim.

En az yüzde 60 oranında kullanıldıktan sonra geri dönüşümle işlem görmüş malzemenin kullanılacağı ve beyaz sülfat selülozuna dayalı kuşeden üretilmesi planlanan kağıt poşet benzerlerine oranla daha güçlü ve dayanıklı olacak.

Genellikle ağartma işlemi sonrası zayıflık gösteren beyaz geri dönüştürülmüş poşetlere getirdiği geliştirmeler ile Apple yine çevre dostu bir yaklaşım göstermiş durumda. Örneğin tamamen 8 dikişli dairesel örgülerle dokulu kağıt liften oluşan tutma yeri ağırlıktan bir anda tutma yerinin elinde kalarak poşetinizi yerde bulmanızı engelleyebilir.

Bakalım Apple’nin çevre dostu çalışmaları nelerle devam edecek?

::

Kaynak: SHIFTDELETE

dikGAZETE.com
SİZİN DÜŞÜNCELERİNİZ?
ÇOK OKUNANLAR
ARŞİV ARAMA
PUAN DURUMU TÜMÜ
GÜNÜN KARİKATÜRÜ TÜMÜ
Günün çizgisi
ANKET TÜMÜ