Samsung'un aldığı yeni patent, Güney Koreli şirketin akıllı saatlerinde damarlar yardımı ile kimlik doğrulama yapacak.
Özellikle son dönemde aldığı yenilikçi patentleri ile basında kendine yer edinen Samsung, yepyeni bir patenti ile tekrar karşımıza çıkıyor. Patentle ilgili ortaya çıkan veriler, Samsung akıllı saatlerin damarlar yardımı ile kimlik tespiti yapacağını gösteriyor. Bu giyilebilir teknoloji için büyük bir yenilik. Son zamanlarda özellikle akıllı telefonlarda parmak izi okuyucusu, iris okuyucusu gibi yenilikçi sistemlerle parola girişi çok daha kolay hale geldi. Damarlardan kimlik tespiti ise yeni bir dönem demek.
PAROLA GEREKTİRMEDEN...
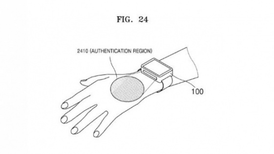
Yeni sistemle akıllı saatin altında iki adet ışıklı sensör yer alacak ve bunlar damarların yapısını okuyacak. Böylece saat içerisinde saklanan özel ve hassas bilgiler güvende olacak. Üstelik parola gerektirmeden. Bunun yanında bu teknolojiyi akıllı saatlerle sınırlandırmak yanlış olur. Sistem ilerleyen dönemde akıllı kapı kilitleri, otel odaları ve hatta otomobillerde bile kullanılabilir. Öte yandan yeni yeni yaygınlaşan akıllı saatten ödeme sistemleri de bununla güvenlik altına alınabilir. Kısacası bu teknolojinin kullanımında bir sınır yok.

Devrim niteliğindeki bu teknoloji hayatımızdaki pek çok şeyi değiştirecek gibi görünüyor. Sistemin yaygınlaşması ile farklı firmaların bunu kullanımı da söz konusu. Bu durumda patent sahibi Samsung payına düşeni alacaktır. Güney Koreli üreticinin son zamanlarda aldığı en önemli patentlerden birisi hiç şüphesiz bu. Siz bu yeni teknoloji hakkında ne düşünüyorsunuz!
Kaynak: scroll
dikgazete.com







