
7 Eylül tarihinde iPhone 7 ve iPhone 7 Plus modellerinin tanıtımını gerçekleştiren Cupertinolu teknoloji devi Apple, akıllı telefonlarında sunduğu yeniliklerle bekleneni pek veremese de yine da satışları şimdilik iyi gidiyor gibi gözüküyor.
Şimdi bahsedeceğimiz konu ise şirketin ne mobil cihazları ne de Mac’leri ile ilgili bir patent hakkında. Patentin şirketin bu ürünleriyle tek bağlantısı ise onları bir Apple Store’den alışveriş sonrası çıkarken rahat taşıyabilmenizi sağlaması.


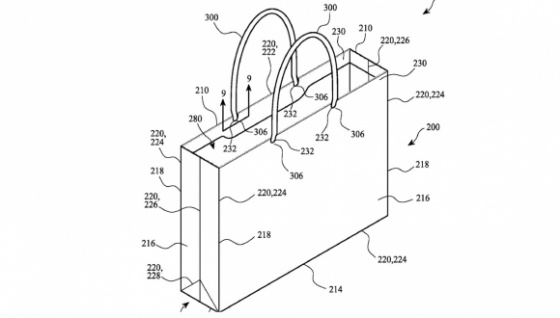
Huzurlarınızda “Apple Bag”
The Guardian’ın haberine göre, Apple’nin Birleşmiş Devletler Patent ve Tescilli Marka Ofisi’ne (USPTO) yaptığı son patent başvurusu kağıt bir poşet için. Aklımıza doğrudan “Apple Bag” veya “iBag” gibi isimler getiren başvuruyu detaylarıyla incelemek için bu adresi incelemek mümkün. Ama biz sizi yine de uğraştırmadan detayları verelim.
En az yüzde 60 oranında kullanıldıktan sonra geri dönüşümle işlem görmüş malzemenin kullanılacağı ve beyaz sülfat selülozuna dayalı kuşeden üretilmesi planlanan kağıt poşet benzerlerine oranla daha güçlü ve dayanıklı olacak.
Genellikle ağartma işlemi sonrası zayıflık gösteren beyaz geri dönüştürülmüş poşetlere getirdiği geliştirmeler ile Apple yine çevre dostu bir yaklaşım göstermiş durumda. Örneğin tamamen 8 dikişli dairesel örgülerle dokulu kağıt liften oluşan tutma yeri ağırlıktan bir anda tutma yerinin elinde kalarak poşetinizi yerde bulmanızı engelleyebilir.
Bakalım Apple’nin çevre dostu çalışmaları nelerle devam edecek?
::
Kaynak: SHIFTDELETE
dikGAZETE.com