?>

Apple Poşet Patenti Aldı

Apple’ın bu defa aldığı patentin iPhone, iPad veya Mac bilgisayarlarıyla olan ilişkisi çok başka bir alanda. Peki teknoloji devinin son aldığı patent ne? İşte cevabı.

Teknoloji - 9 yıl önce

7 Eylül tarihinde iPhone 7 ve iPhone 7 Plus modellerinin tanıtımını gerçekleştiren Cupertinolu teknoloji devi Apple, akıllı telefonlarında sunduğu yeniliklerle bekleneni pek veremese de yine da satışları şimdilik iyi gidiyor gibi gözüküyor.

Şimdi bahsedeceğimiz konu ise şirketin ne mobil cihazları ne de Mac’leri ile ilgili bir patent hakkında. Patentin şirketin bu ürünleriyle tek bağlantısı ise onları bir Apple Store’den alışveriş sonrası çıkarken rahat taşıyabilmenizi sağlaması.

iPhone 7 iPhone 7 Plus’a Geçilir mi? 

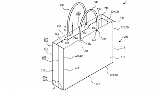
Huzurlarınızda “Apple Bag”

The Guardian’ın haberine göre, Apple’nin Birleşmiş Devletler Patent ve Tescilli Marka Ofisi’ne (USPTO) yaptığı son patent başvurusu kağıt bir poşet için. Aklımıza doğrudan “Apple Bag” veya “iBag” gibi isimler getiren başvuruyu detaylarıyla incelemek için bu adresi incelemek mümkün. Ama biz sizi yine de uğraştırmadan detayları verelim.

En az yüzde 60 oranında kullanıldıktan sonra geri dönüşümle işlem görmüş malzemenin kullanılacağı ve beyaz sülfat selülozuna dayalı kuşeden üretilmesi planlanan kağıt poşet benzerlerine oranla daha güçlü ve dayanıklı olacak.

Genellikle ağartma işlemi sonrası zayıflık gösteren beyaz geri dönüştürülmüş poşetlere getirdiği geliştirmeler ile Apple yine çevre dostu bir yaklaşım göstermiş durumda. Örneğin tamamen 8 dikişli dairesel örgülerle dokulu kağıt liften oluşan tutma yeri ağırlıktan bir anda tutma yerinin elinde kalarak poşetinizi yerde bulmanızı engelleyebilir.

Bakalım Apple’nin çevre dostu çalışmaları nelerle devam edecek?

::

Kaynak: SHIFTDELETE

dikGAZETE.com
Haftanın Öne Çıkanları

Tarık Akan'ın ağabeyi Turgut Üregül konuştu

2016-09-16 13:47 - Magazin

Arakan'da 3 bin ibadethane yıkılacak

2016-09-21 14:52 - Dünya

Fırat Kalkanı Harekatı'nda 103 DAEŞ hedefi imha edildi

2016-09-21 22:37 - Gündem

Tatilciler dönüş yolunda

2016-09-18 19:25 - Genel

Sakarya'da 3 şirkete kayyum atandı

2016-09-21 19:52 - Gündem

Başbakan Yıldırım'dan şehit ailesine bayram mektubu

2016-09-15 22:02 - Gündem

'Vatandaşın eli rahatlayacak, konut sektörü rekor kıracak'

2016-09-22 15:47 - Ekonomi

Türkiye golbolda başarıya doymuyor

2016-09-17 19:52 - Spor

Brüksel'de TTİP ve CETA protestosu

2016-09-21 00:32 - Dünya

Erdoğan, Pakistan Başbakanı Şerif'i kabul etti

2016-09-21 01:17 - Gündem

İlgili Haberler

Askeri fabrikaların üretimdeki gücü ASFAT etkinliğini artıyor

23:48 - Teknoloji

Türk savunma sanayisi serüveni "yapabiliriz" diye değişti

18:33 - Teknoloji

Savunma sanayisinde güven ihracat başarısı getiriyor

18:22 - Teknoloji

ASELSAN'da kapasite de teslimatlar da artıyor

18:13 - Teknoloji

SSB-STM arasında "Kuantum Teknolojileri Geliştirme Platformu Projesi" imzalandı

14:23 - Teknoloji

Günün Manşetleri

Venezuela Geçici Devlet Başkanı Rodriguez, Trump ile yaptığı telefon görüşmesini değerlendirdi

03:52 - Dünya

ABD'li yetkili: Türkiye, Gazze'deki ateşkesin sağlanmasında çok önemli bir rol oynadı

03:38 - Dünya

Senegal'de Afrika Kupası final heyecanı

00:57 - Spor

Fitch, ABD'li tüketicilerin dayanıklılığının bu yıl da devam edeceğini bildirdi

00:43 - Dünya

İngiltere'nin Tahran Büyükelçiliği geçici olarak kapatıldı

00:38 - Dünya