?>

Samsung'un akıllı saatleri damarlardan kimlik belirleyecek

Samsung'un aldığı yeni patent Güney Koreli sirketin akıllı saatlerinde damarlar yardımı ile kimlik doğrulama yapacak

Teknoloji - 10 yıl önce

Samsung'un aldığı yeni patent, Güney Koreli şirketin akıllı saatlerinde damarlar yardımı ile kimlik doğrulama yapacak.

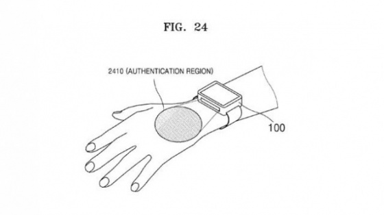
Özellikle son dönemde aldığı yenilikçi patentleri ile basında kendine yer edinen Samsung, yepyeni bir patenti ile tekrar karşımıza çıkıyor. Patentle ilgili ortaya çıkan veriler, Samsung akıllı saatlerin damarlar yardımı ile kimlik tespiti yapacağını gösteriyor. Bu giyilebilir teknoloji için büyük bir yenilik. Son zamanlarda özellikle akıllı telefonlarda parmak izi okuyucusu, iris okuyucusu gibi yenilikçi sistemlerle parola girişi çok daha kolay hale geldi. Damarlardan kimlik tespiti ise yeni bir dönem demek.

PAROLA GEREKTİRMEDEN...

Yeni sistemle akıllı saatin altında iki adet ışıklı sensör yer alacak ve bunlar damarların yapısını okuyacak. Böylece saat içerisinde saklanan özel ve hassas bilgiler güvende olacak. Üstelik parola gerektirmeden. Bunun yanında bu teknolojiyi akıllı saatlerle sınırlandırmak yanlış olur. Sistem ilerleyen dönemde akıllı kapı kilitleri, otel odaları ve hatta otomobillerde bile kullanılabilir. Öte yandan yeni yeni yaygınlaşan akıllı saatten ödeme sistemleri de bununla güvenlik altına alınabilir. Kısacası bu teknolojinin kullanımında bir sınır yok.

Devrim niteliğindeki bu teknoloji hayatımızdaki pek çok şeyi değiştirecek gibi görünüyor. Sistemin yaygınlaşması ile farklı firmaların bunu kullanımı da söz konusu. Bu durumda patent sahibi Samsung payına düşeni alacaktır. Güney Koreli üreticinin son zamanlarda aldığı en önemli patentlerden birisi hiç şüphesiz bu. Siz bu yeni teknoloji hakkında ne düşünüyorsunuz!

Kaynak: scroll

dikgazete.com
Haftanın Öne Çıkanları

Burası da flamingo cumhuriyeti

2016-02-06 15:52 - Genel

Rusya’nın gözlem uçuşu iptal edildi

2016-02-04 12:01 - Genel

Kahvehane baskını soruşturmasında sıcak gelişme

2016-02-09 01:08 - Asayiş

Ersan Gülüm tesislerden ayrıldı

2016-02-03 23:03 - Spor

Özgecan’ın ödülü annesine götürüldü

2016-02-06 15:04 - Genel

Sabancı suikastının faili tutuklandı

2016-02-04 13:28 - Genel

Bu defa şarjlı bomba...

2016-02-06 16:59 - Asayiş

Bu görüntüler bir dostluk maçından

2016-02-02 12:56 - Spor

Emniyet ’Siber Suçlar Çalıştayı’ düzenliyor

2016-02-05 13:18 - Teknoloji

Müdürünü vurup intihar etti

2016-02-06 18:18 - Asayiş

İlgili Haberler

Tolga Yakın Hava Savunma Sistemi 14 ülkeye canlı test atışlarıyla tanıtıldı

21:12 - Teknoloji

Milli yapay zeka platformu MAIN yeni yeteneklere kavuştu

13:58 - Teknoloji

Şanlıurfa'da öğretmenler kırsaldaki öğrencilere bilim ve teknoloji taşıyor

13:38 - Teknoloji

Öğretmen çift, yaptıkları uygulamayla öğrencilere çevre bilinci aşılıyor

12:22 - Teknoloji

Ummanlı yetkili: Türkiye ile savunma sanayi dahil birçok alanda işbirliği yapıyoruz

11:57 - Teknoloji

Günün Manşetleri

Doğu Akdeniz 2025 Davet Tatbikatı basın brifingi yapıldı

21:27 - Gündem

Mersin'de su kesintisinin uzamasına MESKİ'nin deplase çalışmasındaki arıza neden oldu

21:13 - Gündem

Ordu'da çıkan örtü yangınına müdahale ediliyor

21:08 - Gündem

Cumhurbaşkanı Erdoğan, DSÖ Genel Direktörü Ghebreyesus'u kabul etti

20:37 - Gündem

Beşiktaş Teknik Direktörü Yalçın: Bazı sıkıntıları çözmek kolay değil

20:33 - Spor